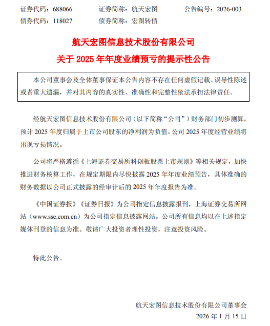
1月15日,航天宏图信息技术股份有限公司(688066.SH,以下简称:航天宏图)发布2025年度业绩预亏的提示性公告。公告显示,经财务部门初步测算,预计2025年度归母净利润为负值,经营业绩将出现亏损情况。
1月15日,航天宏图信息技术股份有限公司(688066.SH,以下简称:航天宏图)发布2025年度业绩预亏的提示性公告。
公告显示,经财务部门初步测算,预计2025年度归母净利润为负值,经营业绩将出现亏损情况。
按照此次公告信息,航天宏图将连续第三个财年出现亏损。
财务数据显示,2025年前三季度,其实现营业收入4.03亿元,同比下降70.06%,实现归母净利润为亏损3.66亿元。
而2023年、2024年,航天宏图实现营业收入分别为18.19亿元、15.75亿元,同比降幅分别为25.98%、13.39%;实现归母净利润分别为亏损3.74亿元、亏损13.93亿元。

航天宏图官网
经营现金流方面,近年来,航天宏图经营活动产生的现金流量净额持续为负,2022年至2025年三季度,分别为-4.88亿元、-8.7亿元、-2.22亿元、-1.46亿元。
截至2025年三季度末,航天宏图货币资金仅1.08亿元,而其短期借款及一年内到期的非流动负债合计约为4.18亿元。
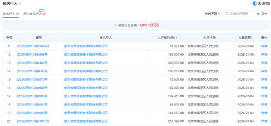
在业绩持续亏损的同时,航天宏图还发生了商业汇票持续逾期、多次被执行的情况。
2025年11月11日,航天宏图曾发布公告称,截至当年10月31日,公司商业承兑汇票兑付构成逾期,票据承兑累计逾期余额为4797.7万元。剔除已兑付的167.7万元,尚存逾期未支付商业承兑汇票合计为4630万元。

同日,评级机构中诚信国际发布公告称,2025年以来,航天宏图盈利指标明显弱化,权益规模持续下滑,经营获现能力表现较弱,目前面临较大的经营周转及债务偿还压力。
公告还显示,2025年以来,航天宏图账面应付职工薪酬规模持续大幅增加,已经出现票据持续逾期的情形,且因劳动争议、服务合同纠纷等,公司持续新增司法诉讼,已存在多条被执行人记录,整体经营周转压力持续加大。

因此,中诚信国际决定将航天宏图主体信用等级由“BBB+”调降至“BBB”,维持评级展望为负面;将“宏图转债”的信用等级由“BBB+”调降至“BBB”。
天眼查显示,航天宏图共有被执行人记录78条,金额共计1822万元,最新一次被列入被执行人的是北京市海淀区人民法院于2026年1月12日发布的《(2026)京0108执956号》,被执行标的29.70万元。早在2025年12月30日,北京市海淀区人民法院发布了对航天宏图实控人、董事长王翔宇的《限制消费令》。
资料显示,2025年8月,航天宏图注册地由北京市海淀区变更为河南省鹤壁市淇滨区。航天宏图为国内卫星运营与行业应用龙头企业,也是时空数据要素采集服务商,成功发射了“女娲星座”系列之宏图一号和宏图二号卫星。(完)